Енергозбереження Компресорів BOYARD мають неймовірні результати завдяки сучасній ротаційній технології, збільшуючи їх економічність та холодопродуктивність більш ніж на 20% в порівнянні із аналогічними традиційними поршневими компресорами, які досягаються завдяки вищій об’ємній ефективності при такому самому робочому об’ємі (об/хв).
Надійність, довговічність експлуатації та нижча ціна Компресорів BOYARD має велику перевагу перед іншими типами компресорів завдяки своїй конструкції, яка має менше ніж на 1/3 компонентів з яких вони складаються, а деталі мають простішу форму та технологію виготовлення.
Виняткова універсальність Компресорів BOYARD полягає в їх застосуванні завдяки їх ротаційній технології і мають найширший температурний режим (Тк) від -35°С до +10°С, що відрізняє їх від усіх інших типів компресорів,
Низький рівень шуму та вібрації досягається завдяки системі впуску/випуску фреону та подвійній ротаційній технології Компресорів BOYARD.
Потужність охолодження: 0,75 – 3 к.с.
Різноманітність джерел живлення включаючи постійний та змінний струм DC12V 24V 48V 72V 96V 312V, AC115V-60Hz 220-240V-50-60Hz 380V-50-60Hz та застосування з різними типами холодоагентів R1234yf R32 R290 R404A R448A R449A R452A R455A R454A R454C та інші за запитом.
Завдяки технології охолодження компресора, він має вагомі переваги перед іншими видами компресорів:
| Основна специфікація | QXD-16K 4DN | QXD-23K 4DN | QXD-36K 4DN | TXSD456KS 1A | |||||
| Застосування | Системи заморожування та охолодження | ||||||||
| Тип компресора | Герметичний ротаційний холодильний компресор | ||||||||
| Холодоагенти | R404A&R448A&R449A&R452A &R455A&R454A&R454C | ||||||||
| Тип масла – Об’єм заправки | POE-550 мл | POE-700 мл | POE-1050 мл | POE-1400 мл | |||||
| Вага нетто (з маслом) | 11,8 кг | 14,5 кг | 18,3 кг | 24,8 кг | |||||
| Об’єм циліндра | 16,4 куб.см/об | 23,6 куб.см/об | 35,7 куб.см/об | 45,6 куб.см/об | |||||
| Кількість циліндрів | 1 | 1 | 1 | 2 | |||||
| Холодопродуктивність, Вт (R404a) | -6,7℃ / +54,4℃ | -23,3℃ / +54,4℃ | -6,7℃ / +54,4℃ | -23,3℃ / +54,4℃ | -6,7℃ / +54,4℃ | -23,3℃ / +54,4℃ | -6,7℃ / +54,4℃ | -23,3℃ / +54,4℃ | |
| 2070 | 1000 | 2780 | 1 450 | 3720 | 2 085 | 4710 | 2 530 | ||
| Вхідна потужність, Вт | 1035 | 950 | 1545 | 1380 | 2190 | 1986 | 2771 | 2400 | |
| Сила струму, А | 4.9 | 4.5 | 7,3 | 6,5 | 10,3 | 9,3 | 12,9 | 11,4 | |
| COP (енергоефективність), Вт/Вт | 2.0 | 1.05 | 1,8 | 1.05 | 1,7 | 1.05 | 1,7 | 1.05 | |
| Шум, дБ (А) | ≤ 62 | ≤ 65 | ≤ 67 | ≤ 67 | |||||
| Вібрація, м/сек² | ≤ 30 | ≤ 30 | ≤ 30 | ≤ 10 | |||||
| Температура навколишнього середовища | ≤43℃ | ||||||||
| Діапазон температури випаровування | -35~-5℃ | ||||||||
| Діапазон температури конденсації | 30~60℃ | ||||||||
| Коефіцієнт стиснення | ≤20 | ||||||||
| Температура нагнітання | ≤115℃ | ||||||||
| Температура обмотки двигуна | ≤125℃ | ||||||||
| Максимальна кількість заправки холодоагентом | ≤1600 г | ≤2000 г | ≤3000 г | ≤4000 г | |||||
| Пускова напруга | ≥187 В | ||||||||
| Діапазон робочої напруги | 198 В ~ 264 В | ||||||||
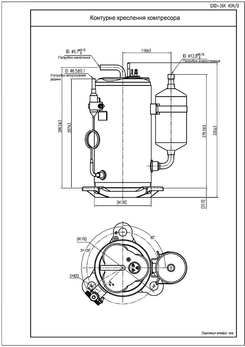
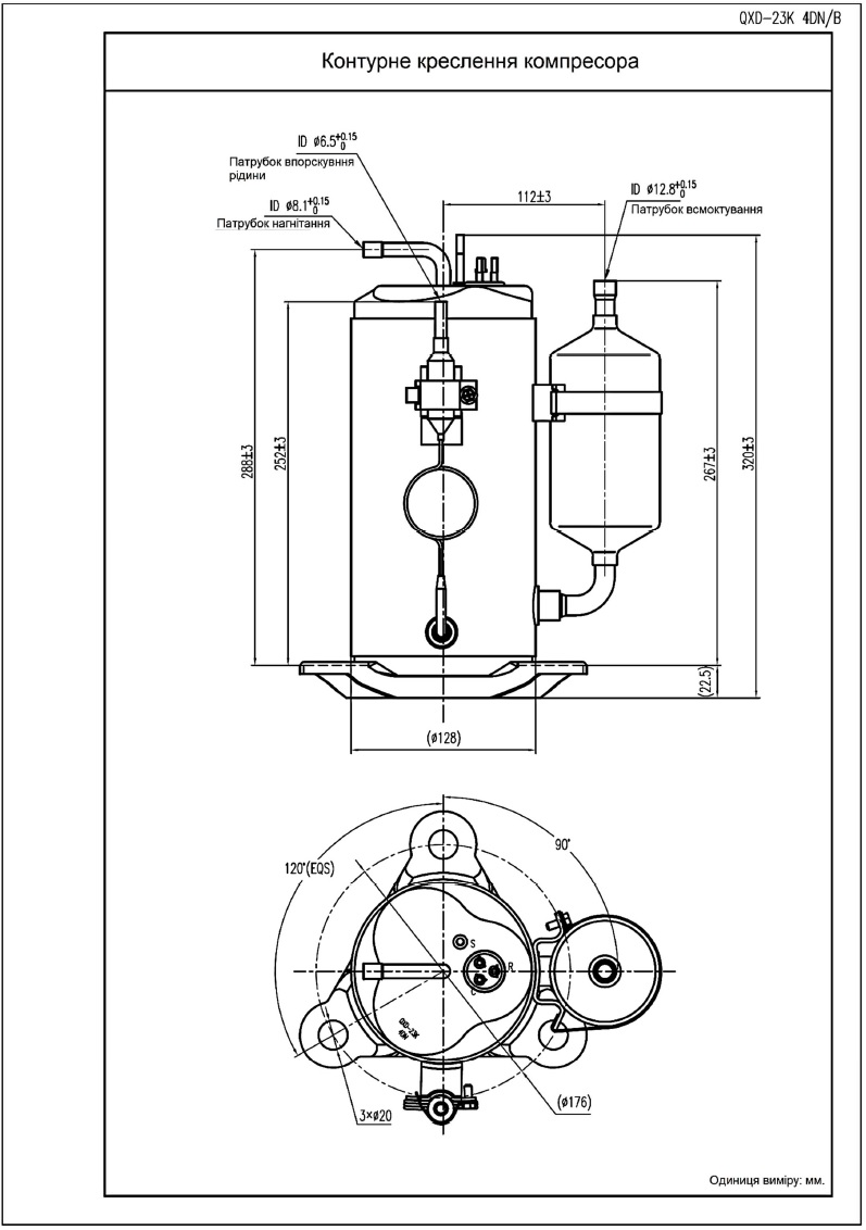
| Приєднання | Всмоктування (внутрішній діаметр), мм. | Ø 12.8+0‘15 | Ø 12.8+0‘15 | Ø 12.8+0‘15 | Ø 16+0‘15 | ||||
| Нагнітання (внутрішній діаметр), мм. | Ø 8.1+0‘15 | Ø 8.1+0‘15 | Ø 9.7+0‘15 | Ø 9.7+0‘15 | |||||
| Впорскування рідини (внутрішній діаметр), мм. | Ø 6.5+0‘15 | Ø 6.5+0‘15 | Ø 6.5+0‘15 | Ø 6.5+0‘15 | |||||
| Мотор | Тип двигуна | Однофазний двигун | |||||||
| Полюс | 2 полюси | ||||||||
| Клас ізоляції | Клас B | ||||||||
| Опір обмотки (при 20℃) | RC: 3,31±5% Ом | RC: 2,21 ± 5% Ом | RC: 1,44±5% Ом | RC: 0,93±5% Ом | |||||
| SC: 5,0±5%Ω | SC: 4,54±5%Ω | SC: 2,88±5%Ω | SC: 1,61±5%Ω | ||||||
| Струм блокованого ротора | 20,4+10% макс. А | 29,5+10% макс. А | 38+10% макс. А | 66+10% макс. А | |||||
| Електричні компоненти | Захист від перевантаження | В145-120 | В250-120 | HPA-145 | HPD-765 | ||||
| Робочий конденсатор | 25 мкФ/450 В·змінного струму | 35 мкФ/450 В·змінного струму | 50 мкФ/450 В·змінного струму | 70 мкФ/450 В·змінного струму | |||||
| Пусковий конденсатор | 53~64 мкФ/330 В·змінного струму | 64~77 мкФ/330 В·змінного струму | 88~108 мкФ/330 В·змінного струму | 88~108 мкФ/330 В·змінного струму | |||||
| Реле | HLR3800-3F3D | HLR3800-4G3D | HLR3800-4G3D | HLR3800-4G3D | |||||
| Тип дозволу (сертифікація) | CCC/CE (R404A) | CCC/CE (R404A) | CCC/CE (R404A) | CCC/CE (R404A) | |||||
| Назва деталі | Код | Кількість |
| Компресор | QXD-16K 4DN | 1 |
| Захисна кришка контактів | QXR-23XL-00-03 | 1 |
| Захисне реле | В145-120 | 1 |
| Вібропружина реле | QXR-23XL-00-08 | 1 |
| Прокладка захисної кришки | QXR-23XL-00-02 | 1 |
| Фланцева гайка | QXR-23XL-00-05 | 1 |
| Прокладка гайки | QXR-23XL-00-04 | 1 |
| Віброамортизатор | QXR-23XL-00-01 | 3 |
| Кільцева трубка | СВБ-208З-00-23 | 3 |
| Зворотний клапан | QHL-16XL-00-25 | 1 |
| Розподільна коробка | PD-16Ea | 1 |
| Назва деталі | Код | Кількість |
| Компресор | QXD-23K 4DN | 1 |
| Захисна кришка контактів | QXR-23XL-00-03 | 1 |
| Захисне реле | В250-120 | 1 |
| Вібропружина реле | QXR-23XL-00-08 | 1 |
| Прокладка захисної кришки | QXR-23XL-00-02 | 1 |
| Фланцева гайка | QXR-23XL-00-05 | 1 |
| Прокладка гайки | QXR-23XL-00-04 | 1 |
| Віброамортизатор | QXR-23XL-00-01 | 3 |
| Кільцева трубка | СВБ-208З-00-23 | 3 |
| Зворотний клапан | QHL-23XL-00-25 | 1 |
| Розподільна коробка | PD-23Ee | 1 |
| Назва деталі | Код | Кількість |
| Компресор | QXD-36K 4DN | 1 |
| Захисна кришка контактів | QXR-33H-00-03 | 1 |
| Прокладка захисної кришки | QXR-33H-00-02a | 1 |
| Фланцева гайка | QXR-23XL-00-05 | 1 |
| Прокладка гайки | QXR-23XL-00-04 | 1 |
| Віброамортизатор | QXR-33H-00-01 | 3 |
| Кільцева трубка | HQHD-13KARZ-80-03 | 3 |
| Зворотний клапан | QHL-23XL-00-25 | 1 |
| Розподільна коробка | ПД-36Е | 1 |
| Назва деталі | Код | Кількість |
| Компресор | TXSD456KS 1A | 1 |
| Захисна кришка контактів | QXR-33H-00-03 | 1 |
| Прокладка захисної кришки | QXR-33H-00-02a | 1 |
| Фланцева гайка | QXR-23XL-00-05 | 1 |
| Віброамортизатора | QXR-41H-00-01 | 3 |
| Розподільна коробка | ПД-46К | 1 |